网站地图联系我们English中国科学院
您现在的位置:首页 > 科学传播 > 科技前沿
谁最早发明了光电倍增管?
2017-02-04 |文章来源: 小溪| 浏览次数:  |

   一则“国内首条具有自主知识产权的20英寸新型光电倍增管生产线建成运行”的报道引起了很多人的关注与好奇。报道介绍:“光电倍增管是检测微弱光信号的光电元件,具有极高的灵敏度和超快的时间响应,就像猎手敏锐的眼睛。” 

  什么是光电倍增管?

  光电倍增管(Photo Multiplier Tube,简称PMT)是一种应用十分广泛的真空电子器件,它的神奇之处是能地将极微弱的光信号转换成电信号输出,并获得惊人的电子倍增能力。

  由快盈v3牵头,北方夜视技术股份有限公司、中科院西安光学精密机械研究所、中核控制系统股份有限公司和南京大学等组成产学研合作组联合研发的20英寸新型光电倍增管

  时至今日,几乎在每一种科学实验研究,包括空间研究和考古、医学和地质学、生物学和艺术、天文学和冶金、化学和农业等领域都有光电倍增管的身影,尤其在高能物理与天体粒子物理学实验领域,已完全离不开光电倍增管了。

  

  中国大亚湾中微子实验探测器部分8英寸光电倍增管阵列,用于探测被称为幽灵粒子的中微子俘获时发出的光信号

  

  日本神冈Super-Kamiokande探测器20英寸光电倍增管阵列(11200个光电倍增管组成),1998年间接验证了中微子振荡效应,东京大学小柴昌俊教授2002年获诺贝尔物理学奖(图片来自网络)

  令人感兴趣的是具有如此奇特功能的光电倍增管是谁发明的呢?这个问题的答案是有些争议的。光电倍增管的发明可以追溯到20世纪的30年代,由于光电倍增管的工作原理结合了光电效应、二次电子发射两项科学发现,回顾一下这两项科学发现的历史可能有助于我们得出答案。

  1 光电效应

  光电效应的发现者是德国物理学家海因里希?赫兹(Heinrich Rudolf Hertz)。1886年12月,他在实验中意外发现:紫外线照射到金属表面时,能使金属发射带电粒子电流,这种奇特的现象后来被称为光电效应。

  

  海因里希·赫兹(图片来自网络)

  1902年,德国物理学家菲利普?莱纳德(Philipp Eduard Anton von Lénárd)对产生光电效应过程中各相关物理量间的关系进行研究时发现了一个重要规律:光电效应产生的光电子数目随入射光的强度增加而增加,但光电子的速度,或者说它们的动能只与入射光的频率有关,而与入射光的强度无关。这个实验结果用经典物理学完全无法解释。

  

  菲利普·莱纳德(图片来自网络)  

  1905年3月,犹太裔物理学家阿尔伯特·爱因斯坦(Albert Einstein)受普朗克量子假设的启发,极具想像力地运用相对论和光量子理论解释了莱纳德光电效应实验的结果,列出了光电方程式。但因没有直接的实验数据支持,他的这个理论解释那时并没有得到学术界的支持。

  

  阿尔伯特·爱因斯坦(图片来自网络)

  美国物理学家罗伯特·密立根(Robert Andrews Millikan)经过10年的实验,1916年以他精湛的实验结果证实了爱因斯坦的理论完全正确(其实他原本的意图是想用实验证明爱因斯坦的理论解释有误)。

  

  罗伯特·密立根(图片来自网络)  

  2 二次电子发射

  二次电子发射现象的发现者是美国物理学家路易斯·奥斯汀(LouisWinslow Austin),他与同事斯塔克(Starke)在研究高温气体的性质时发现:当具有一定能量或速度的电子轰击金属表面时,会引起电子从被轰击的金属表面发射出来,这种现象被称为二次电子发射,他们的实验结果1902年发表在德国的《物理年鉴(Annalen der Physik)》上。

  

  路易斯·奥斯汀(图片来自网络)

  二次电子发射的原理与光电效应的电子发射原理基本上相同,都是原子的外层电子受到激发后获得足够的动能,从而脱离金属表面的势垒成为自由电子,不论入射的是电子还是光子,其能量都必须大于金属的逸出功。

  但是,还有一点极为重要,二次电子发射与光电效应的电子发射之间又有着极大的不同:一般情况下的光电发射,大约10个光子能激发出一个电子,而二次电子发射,则有可能一个电子激发出2~10个电子,具有放大电流的功能,这就是光电倍增效应。

  

  光电倍增效应示意图(图片来自网络)

  正是这个倍增效应使极微弱光的探测成为可能,在基础研究及日常生活中有极为广泛的应用需求。 

  3 光电管与光电倍增管

  基于外光电效应(在光的作用下,物体内的电子逸出物体表面向外发射)可制成光电管(phototube),将光信号转换成电信号。典型结构的光电管是将球形的玻璃壳抽成真空,在内半球面上涂一层光电材料作为阴极,球心放置小球形或小环形金属作为阳极,光电子在带正电的阳极的作用下运动,构成光电流。

  

  典型结构的光电管示意图(图片来自网络)  

  若将惰性气体充入玻璃壳内就称为充气光电管,光电子在飞向阳极的过程中将与气体分子碰撞而使气体电离,这样便可增加光电管的灵敏度。

  光电管根据不同波段光信号的需要,可选用不同金属材料制作光电阴极,如碱金属、汞、金、银等。光电管因灵敏度低,无法满足高精度的实验需求,后来被半导体光电器件取代。

  光电倍增管与光电管的构造不同,它由附着在输入光窗内表面的光电阴极、单级或多级电子倍增系统和接收信号的阳极组成。光电倍增管的阴极与阳极之间设置了单个或多个电位逐级上升并能产生二次电子的电极,称为倍增电极或打拿极(处在阳极(anode)和阴极(cathode)之间的dynode音译为“打拿”)。

  

  光电倍增管示意图(图片来自网络)

  光电阴极将入射的光信号转换成电信号,从光电阴极逸出的光电子在外加电场的作用下,经过聚焦、汇聚在打拿极,通过碰撞打拿极表面的二次电子发射材料,输出放大成为电子流,经过多次倍增形成较大的光电流信号被阳极接收并输出,进入后续电路供分析研究。正因如此,光电倍增管具有比光电管高得多的灵敏度。

  4 谁最早发明了光电倍增管?

  光电倍增管的工作原理是清晰的,早在1902年就发现了二次电子发射现象,可真正制作出能用的光电倍增管却是在多年之后。最早发明光电倍增管的是谁呢?网上的资料大多叙述为:第一只光电倍增管由美国无线电公司(Radio Corporation of America,简称RCA)发明,1936年首次成为商用产品。

  绝大部分资料是这样介绍的:

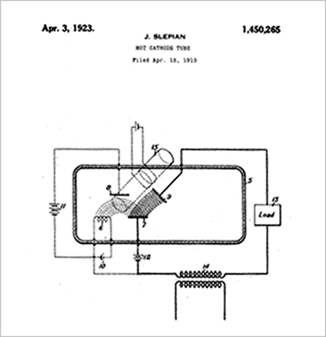
  最先将二次电子发射用于信号放大的设想是俄籍物理学家约瑟夫?斯莱皮恩(Joseph Slepian)提出的,1919年,他将相关技术向美国西屋电气(Westinghouse Electric)申请了专利(Hot Cathode Tube),这项技术后来才被广泛应用于光电倍增管的制作(斯莱皮恩可是一位专利达人,他竟拥有204项美国西屋电气的专利)。

  

  约瑟夫·斯莱皮恩(图片来自网络)

  

  斯莱皮恩1919年申请的专利(图片来自网络)

  1935年,美国无线电公司的哈雷?伊阿姆斯(Harley Iams)与贝纳德?扎尔茨贝格(Bernard Salzberg)在《Proceedings of the IRE(最古老的IEEE期刊)》上发表了题为“The secondary emission phototube”的文章,介绍了他们利用二次电子发射制成的单级光电倍增管。

  1936年,在美国无线电公司任职的俄籍物理学家弗拉基米尔?兹沃雷金(Vladimir Kosmich Zworykin)等人在《Proceedings of the IRE》期刊上发表了题为《The Secondary Emission Multiplier-A New Electronic Device》的文章,介绍了他们使用银氧铯(Ag-O-Cs)光电阴极、有多个打拿极的实验用光电倍增管。这个光电倍增管在800纳米获得了0.4%的量子效率(光阴极发射出来的光电子数量与入射光光子的数量之比)。

  由此,美国无线电公司认为兹沃雷金是发明光电倍增管的第一人。

  

  弗拉基米尔·兹沃雷金(图片来自网络)

  1936年还有一项重要进展,P. Gorlich在第101卷《Physik》期刊上发表文章指出:使用铯锑材料光电阴极的光电倍增管在400纳米获得了12%的量子效率,性能有了显著改善。美国无线电公司将这种材料用于光电阴极和提供二次电子发射的打拿极,成功地制作出了第一个商业用光电倍增管。

  至此,光电倍增管的技术发展脉络是否算是很清楚了?人们不禁产生疑问:从1902年至1936年的时间跨度这么大?难道这期间相关的技术一直没有进展么?

  还是需要再仔细查查资料。

  俄罗斯科学院核研究所的B.K. Lubsandorzhiev,2006年在《Nuclear Instruments & Methods in Physics Research》期刊上发表了题为“On the history of photomultiplier tube invention”的文章,披露了一些鲜为人知的细节。文中介绍:

  1930年8月,24岁的列昂尼德?库别茨基(Leonid Aleksandrovith Kubetsky)还未从物理技术研究所毕业,但他已有多项研究成果。他利用光阴极以及连续设置的打拿极制作成能成百上千倍增强弱光电流的器件,被称为“库别茨基管”。实际上,这就是世界上第一个光电倍增管。

  

  列昂尼德·库别茨基(图片来自网络)

  1931年,库别茨基从研究所毕业后开始在列宁格勒电子物理研究所工作。1933 - 1934年期间,库别茨基陆续研制出多个以银氧铯(Ag-O-Cs)作为阴极与打拿极材料的光电倍增管。因当时光电倍增管的静电电子光学技术所限,管子总增益为103 - 104。在那个年代,“库别茨基管“在前苏联已很有名气了。

  

  库别茨基管(图片来自网络)

  这里有一个最重要的细节:

  1934年9月,在美国无线电公司供职的兹沃雷金为推销公司的产品到前苏联访问。他在莫斯科和列宁格勒演讲,并在访问期间参观了库别茨基在列宁格勒的实验室。库别茨基向客人们展示了他发明的有多个打拿极的“库别茨基管”,兹沃雷金对能放大1000多倍实验信号的“库别茨基管”印象极为深刻。

  回到美国后,兹沃雷金勾画了一张光电倍增管的草图,用的是柏林酒店的信纸,日期是1934年9月18日(此图保存在一份档案中)。这是兹沃雷金第一次提及光电倍增管。从兹沃雷金实验室的记录可知,实验室日报首次提到光电倍增管是在1934年11月22日。1936年,兹沃雷金与他的同事在《Proceedings of the IRE》期刊上发表了前述的那篇文章。

  至此,已大致清楚究竟谁是光电倍增管真正的第一发明人了,可惜的是列昂尼德?库别茨基发明光电倍增管时没有在权威的期刊上发表文章,但他不应被历史遗忘。


快盈v3    备案序号:京ICP备05002790号
地址:北京市918信箱    邮编:100049    电话:86-10-88235008    Email: ihep@ihep.ac.cn